Apple puede estar considerando agregar una cámara a sus relojes Apple de próxima generación. Sin embargo, esto sólo será posible si la portabilidad del dispositivo no se ve afectada.
¿El futuro de los Apple Watch está en la cámara?
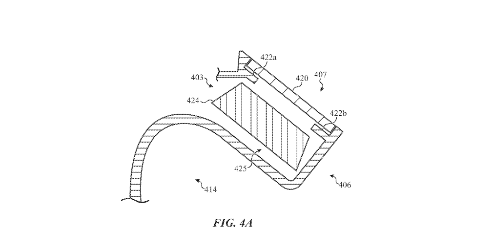
Según unsolicitud de patenteApple propone agregar una ligera protuberancia en la parte superior del reloj para acomodar la cámara. El diseño es similar al de la Wristcam existente, pero Apple está explorando formas de agregar la cámara sin que el reloj sea voluminoso o incómodo de usar.
La cámara propuesta tendrá una alta calidad de hasta 4K y 60 cuadros por segundo o una cámara fotográfica de hasta 12MP. Apple desdeña los componentes de baja calidad, ya que "pueden no cumplir con las expectativas de calidad del usuario". La cámara está diseñada para diversos fines, como identificación facial, detección de huellas dactilares, monitorización de la frecuencia cardíaca y fotografía.

La solicitud de patente se atribuye a cinco inventores, incluido Christopher M. Warner, quien anteriormente trabajó en correas de Apple Watch con detección muscular. La compañía está explorando formas de incorporar la cámara al reloj sin afectar sus otros componentes, como la pantalla, la batería y el conjunto de circuitos. Además, la protuberancia de la cámara no debe interferir con la geometría de la ranura de la correa para permitir a los usuarios colocar y quitar la correa.
La principal preocupación de Apple es agregar nuevas funciones a sus productos sin afectar la experiencia del usuario. No se sabe cuándo se incorporará la cámara a los Apple Watch de próxima generación, pero la compañía está explorando varias opciones. Apple puede aumentar el tamaño del reloj para acomodar la cámara o explorar otras soluciones innovadoras.

La compañía también puede aprender del éxito de su Apple Watch Ultra, que demostró que los usuarios están dispuestos a usar dispositivos más voluminosos si ofrecen un beneficio claro. En el caso del Apple Watch Ultra, la mayor duración de la batería es una ventaja significativa. Apple puede explorar beneficios similares con su nueva cámara, como la capacidad de desbloquear todos los dispositivos Apple a través de Face ID.
Lectura recomendada:Apple Watch contará con cámaras integradas y capacidades avanzadas de IA
Al igual que con otras patentes presentadas por Apple, es importante tener en cuenta que el gigante tecnológico de Cupertino presenta muchas solicitudes de nueva tecnología semanalmente, por lo que no sabemos con seguridad si esta tecnología específica se implementará en un futuro Apple Watch.
Leer más:
- El futuro Apple Watch podría tener correas que cambian de color – Patente
